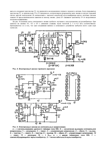
Приведены и описаны электронные схемы устройств, применяемых в быту: электронного звонка, календаря замков, регулирующих схем хозяйственных, бытовых приборов и т.д. Дан перечень необходимых деталей (для зарубежных элементов даются отечественные аналоги) и оборудования, показаны варианты расположения и компоновки устройств. Для любителей-конструкторов, занимающихся бытовой электроникой и электротехникой.

Информация о документе

Формат документа
PDF, DJVU
Кол-во страниц
105 страниц
Загрузил(а)
Лицензия
Доступ
Всем

Информация о книге

Издательство
Энергоатомиздат
Год публикации
1987
Автор(ы)
Ференци Одон (Odon Ferenzi)
Ключевые фразы
электроника

Статистика просмотров

Статистика просмотров книги за 2025 год.