Книга: Простой ламповый приемник
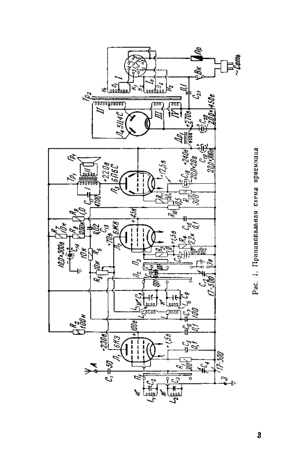
Простой ламповый приемник собран по схеме прямого усиления (1-V-1) с питанием от сети переменного тока на лампах 6КЗ, 6Ж8, 6П6С; в выпрямителе применен кенотрон 5Ц4С. Приемник предназначен для приема радиостанций, работающих в диапазонах длинных - 150-410 кгц (733-2000 м) и средних - 520-1600 кгц (187,5-578 м) волн. Конструкция данного приемника рассчитана на изготовление его силами начинающих радиолюбителей и собирается преимущественно из заводских деталей. В нем предусмотрена возможность включения звукоснимателя для проигрывания грампластинок. Несмотря на свою простоту, приемник обладает довольно высокой чувствительностью и избирательностью, не уступающей малоламповым приемникам, собранным по супергетеродинным схемам.
Информация о документе
- Формат документа
- PDF, DJVU
- Кол-во страниц
- 22 страницы
- Загрузил(а)
- Лицензия
- —
- Доступ
- Всем
Информация о книге
- Издательство
- ДОСААФ
- Год публикации
- 1956
Статистика просмотров
Статистика просмотров книги за 2025 год.