Книга: Высокоизбирательные фильтры с транзисторами

В книге об электрических фильтрах. Они являются одним из важнейших элементов многоканальной аппаратуры связи; широко применяются они также в измерительной технике, в автоматике и т. д. До недавнего времени основное внимание уделялось рассмотрению фильтра как пассивного четырехполюсника, характеризующегося сравнительно небольшим затуханием в полосе пропускания и существенно более высоким затуханием за пределами этой полосы.

Информация о документе

Формат документа
PDF, DJVU
Кол-во страниц
75 страниц
Загрузил(а)
Лицензия
Доступ
Всем

Информация о книге

Год публикации
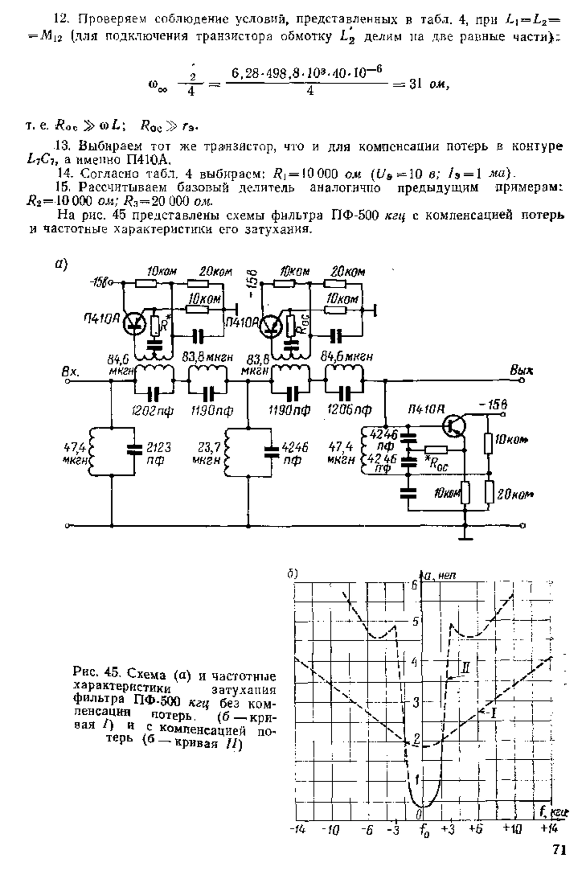
1967
Автор(ы)
Знаменский А. Е., Лоткова Е. Д.
Ключевые фразы
фильтр, транзисторы

Статистика просмотров

Статистика просмотров книги за 2025 год.